Ktos ma takie cudenko ??
Oryginalne 3cie swiatlo stopu
- Para
- Peugeot 205 Master
- Posty: 10182
- Rejestracja: 30 cze pn, 2003 6:31 pm
- Posiadany PUG: najlepszy
- Numer Gadu-gadu: 1559591
- Lokalizacja: Baile Átha Cliath
- Kontakt:
Oryginalne 3cie swiatlo stopu
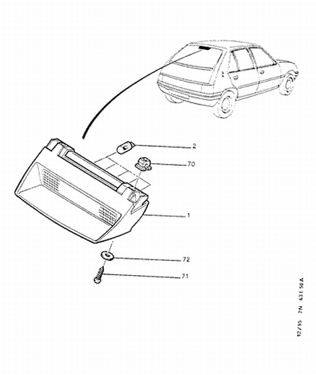
Przeszukujac srubki w katalogu Puga natrafilem na cos takiego 
Ktos ma takie cudenko ??
Ktos ma takie cudenko ??
- moralez
- Peugeot 205 Master
- Posty: 4918
- Rejestracja: 30 sie wt, 2005 3:42 pm
- Posiadany PUG: 205......T8, 205 GTI 1.6
- Numer Gadu-gadu: 2955602
- Lokalizacja: Włocławek
- Kontakt:
Re: Oryginalne 3cie swiatlo stopu
bylo na sprzedarz na forum jakis czas temu, chyba kupil je zlotycbr 
- Para
- Peugeot 205 Master
- Posty: 10182
- Rejestracja: 30 cze pn, 2003 6:31 pm
- Posiadany PUG: najlepszy
- Numer Gadu-gadu: 1559591
- Lokalizacja: Baile Átha Cliath
- Kontakt:
Re: Oryginalne 3cie swiatlo stopu
Podobno tylko niektore wersje maja mocowanie na to swiatelko
- arkol
- Nowicjusz
- Posty: 17
- Rejestracja: 18 paź wt, 2005 9:03 pm
- Posiadany PUG: 1.6 GTI x2
- Numer Gadu-gadu: 128937
- Lokalizacja: Kraków
Re: Oryginalne 3cie swiatlo stopu
ja mam takie za 15zł http://picasaweb.google.com/arkolrally/ ... 3796064770
Foto Galeria części do sprzedania: http://picasaweb.google.com/arkolrally/ ... tU_bRcLZPw
More Power - More Speed
More Speed - More Fun
More Power - More Speed
More Speed - More Fun
- Para
- Peugeot 205 Master
- Posty: 10182
- Rejestracja: 30 cze pn, 2003 6:31 pm
- Posiadany PUG: najlepszy
- Numer Gadu-gadu: 1559591
- Lokalizacja: Baile Átha Cliath
- Kontakt:
Re: Oryginalne 3cie swiatlo stopu
Arkol to nie jest oryginalne
- Haku
- Uzalezniony
- Posty: 508
- Rejestracja: 02 cze czw, 2005 1:36 am
- Posiadany PUG: 205 Forever GTI-6
- Numer Gadu-gadu: 5369054
- Lokalizacja: Warszawa
- Kontakt:
Re: Oryginalne 3cie swiatlo stopu
Ja mam u siebie takie światło - jak bede w warsztacie to cykne fote
Peugeot 205 Forever GTI-6 / 170,5KM 198,9Nm
- DJPreZes
- Moderator
- Posty: 4594
- Rejestracja: 01 sie ndz, 2004 6:40 pm
- Posiadany PUG: Roland Garros/307
- Numer Gadu-gadu: 2516096
- Lokalizacja: Gdynia
Re: Oryginalne 3cie swiatlo stopu
No ja mam oryginalne, jeszcze nie zalozone.
Peugeot 205 Roland Garros Cabrio


- Para
- Peugeot 205 Master
- Posty: 10182
- Rejestracja: 30 cze pn, 2003 6:31 pm
- Posiadany PUG: najlepszy
- Numer Gadu-gadu: 1559591
- Lokalizacja: Baile Átha Cliath
- Kontakt:
Re: Oryginalne 3cie swiatlo stopu
No i gdzie ta fotka ??
-
zlotycbr
- Junior
- Posty: 288
- Rejestracja: 28 lis pn, 2005 1:09 am
- Posiadany PUG: JUNIOR 1,1l i Gentry i 1,9 GTI
- Numer Gadu-gadu: 1301373
- Lokalizacja: Stalowa Wola
Re: Oryginalne 3cie swiatlo stopu
Spoko,mysle ze w koncu uda mi sie w tym tygodniu sfocic ja.
Niestety zbyt zabiegany jestem
Niestety zbyt zabiegany jestem
-
babelo
- Maniak
- Posty: 1281
- Rejestracja: 08 sty wt, 2008 10:23 pm
- Numer Gadu-gadu: 0
- Lokalizacja: Jasło
Re: Oryginalne 3cie swiatlo stopu
Ja mam oryginalne od saxa i jest tam też znaczek peugeota jak wrzucicie fotki to porównam czy to nie to samo ! 
- Roland_KrK
- Junior
- Posty: 163
- Rejestracja: 07 paź wt, 2008 6:24 pm
- Posiadany PUG: 205 Roland Garros
- Numer Gadu-gadu: 3290009
Re: Oryginalne 3cie swiatlo stopu
Ja mam orygyginalne 3 światło stopu i nie zamierzam sie go pozbyć 
_______________________________________________________________________________
http://peugeot205.pl/index.php?modul=uzytkownik&id=3146
http://peugeot205.pl/index.php?modul=uzytkownik&id=3146
- DJPreZes
- Moderator
- Posty: 4594
- Rejestracja: 01 sie ndz, 2004 6:40 pm
- Posiadany PUG: Roland Garros/307
- Numer Gadu-gadu: 2516096
- Lokalizacja: Gdynia
Re: Oryginalne 3cie swiatlo stopu
A moze ktos pochwali sie wreszcie prawdziwa fotka? ;] Moje jest wklejane na taka pianke do szyby i trzyma kosmicznie. Dzisiaj zrobie fotke temu 
Peugeot 205 Roland Garros Cabrio


- Małysz
- Uzalezniony
- Posty: 815
- Rejestracja: 09 maja śr, 2007 11:08 pm
- Posiadany PUG: 307 2.0 90HDI; dawniej 205 GT 1.6 i 1.8D
- Numer Gadu-gadu: 4121955
- Login tlen: adamdrozdzu
- Lokalizacja: Żyrardów
- Kontakt:
Re: Oryginalne 3cie swiatlo stopu
No to proszę, oto fotki mojego z GT.
Wydaje mi się, że jest to oryginalne światło.
Wydaje mi się, że jest to oryginalne światło.
1.8 D http://www.peugeot205.pl/index.php?modu ... ik&id=3986
GT http://peugeot205.pl/index.php?modul=uzytkownik&id=2450
- Roland_KrK
- Junior
- Posty: 163
- Rejestracja: 07 paź wt, 2008 6:24 pm
- Posiadany PUG: 205 Roland Garros
- Numer Gadu-gadu: 3290009
Re: Oryginalne 3cie swiatlo stopu
Ja mam całkowicie inne 3 światło stopu, na pewno jest oryginalne jak będe miał czas to wrzuce fote
_______________________________________________________________________________
http://peugeot205.pl/index.php?modul=uzytkownik&id=3146
http://peugeot205.pl/index.php?modul=uzytkownik&id=3146

